Exterior Trim - Front Bumper for 2004 Chevrolet Cavalier
Categories
- Bumper & Components - Front
- Bumper & Components - Rear
- Console
- Cowl
- Door
- Door & Components
- Ducts
- Exterior Trim - Door
- Exterior Trim - Fender
- Exterior Trim - Front Bumper
- Exterior Trim - Front Door
- Exterior Trim - Pillars
- Exterior Trim - Quarter Panel
- Exterior Trim - Rear Door
- Exterior Trim - Roof
- Exterior Trim - Trunk
- Fender & Components
- Floor & Rails
- Front Door
- Front Seat Components
- Glass - Door
- Glass - Front Door
- Glass - Rear Door
- Glass - Windshield
- Glass & Hardware
- Glass & Hardware - Back
- Hood & Components
- Inner Structure
- Instrument Panel
- Interior Trim - Cowl
- Interior Trim - Door
- Interior Trim - Front Door
- Interior Trim - Pillars
- Interior Trim - Quarter Panels
- Interior Trim - Rear Body
- Interior Trim - Rear Door
- Interior Trim - Roof
- Interior Trim - Trunk
- Labels
- Lid & Components
- Lock & Hardware
- Master Cylinder - Components On Dash Panel
- Outside Mirrors
- Quarter Panel & Components
- Radiator Support
- Rear Body
- Rear Door
- Rear Floor & Rails
- Roof & Components
- Seat Belt
- Sound System
- Spoiler
- Structural Components & Rails
- Sunroof
- Trunk
- Uniside
- Wiper & Washer Components
- ABS Components
- Air Bag Components
- Alternator
- Antenna & Radio
- Backup Lamps
- Battery
- Battery & Related Components
- Bulbs - Chassis
- Cruise Control System
- Daytime Running Lamps
- Door
- Electrical Components
- Electrical Sockets
- Flashers
- Fog Lamps
- Front Door
- Front Seat Belts
- Fuse & Relay
- Headlamp Components
- High Mounted Stop Lamp
- Horn
- Ignition Lock
- Ignition System
- Instruments & Gauges
- Keyless Entry Components
- License Lamps
- Lighting - Exterior
- Lighting - Interior
- Mirrors
- Powertrain Control
- Rear Door
- Rear Seat Belts
- Relays
- Senders
- Starter
- Starter & Related Components
- Sunroof
- Switches
- Switches, Solenoids & Actuators
- Tail Lamps
- Trunk
- Wipers
- Wiring Harness
- Bumper & Components - Front
- Bumper & Components - Rear
- Console
- Cowl
- Door
- Door & Components
- Ducts
- Exterior Trim - Door
- Exterior Trim - Fender
- Exterior Trim - Front Bumper
- Exterior Trim - Front Door
- Exterior Trim - Pillars
- Exterior Trim - Quarter Panel
- Exterior Trim - Rear Door
- Exterior Trim - Roof
- Exterior Trim - Trunk
- Fender & Components
- Floor & Rails
- Front Door
- Front Seat Components
- Glass - Door
- Glass - Front Door
- Glass - Rear Door
- Glass - Windshield
- Glass & Hardware
- Glass & Hardware - Back
- Hood & Components
- Inner Structure
- Instrument Panel
- Interior Trim - Cowl
- Interior Trim - Door
- Interior Trim - Front Door
- Interior Trim - Pillars
- Interior Trim - Quarter Panels
- Interior Trim - Rear Body
- Interior Trim - Rear Door
- Interior Trim - Roof
- Interior Trim - Trunk
- Labels
- Lid & Components
- Lock & Hardware
- Master Cylinder - Components On Dash Panel
- Outside Mirrors
- Quarter Panel & Components
- Radiator Support
- Rear Body
- Rear Door
- Rear Floor & Rails
- Roof & Components
- Seat Belt
- Sound System
- Spoiler
- Structural Components & Rails
- Sunroof
- Trunk
- Uniside
- Wiper & Washer Components
- ABS Components
- Air Bag Components
- Alternator
- Antenna & Radio
- Backup Lamps
- Battery
- Battery & Related Components
- Bulbs - Chassis
- Cruise Control System
- Daytime Running Lamps
- Door
- Electrical Components
- Electrical Sockets
- Flashers
- Fog Lamps
- Front Door
- Front Seat Belts
- Fuse & Relay
- Headlamp Components
- High Mounted Stop Lamp
- Horn
- Ignition Lock
- Ignition System
- Instruments & Gauges
- Keyless Entry Components
- License Lamps
- Lighting - Exterior
- Lighting - Interior
- Mirrors
- Powertrain Control
- Rear Door
- Rear Seat Belts
- Relays
- Senders
- Starter
- Starter & Related Components
- Sunroof
- Switches
- Switches, Solenoids & Actuators
- Tail Lamps
- Trunk
- Wipers
- Wiring Harness
Browse Categories
Select category
- Bumper & Components - Front
- Bumper & Components - Rear
- Console
- Cowl
- Door
- Door & Components
- Ducts
- Exterior Trim - Door
- Exterior Trim - Fender
- Exterior Trim - Front Bumper
- Exterior Trim - Front Door
- Exterior Trim - Pillars
- Exterior Trim - Quarter Panel
- Exterior Trim - Rear Door
- Exterior Trim - Roof
- Exterior Trim - Trunk
- Fender & Components
- Floor & Rails
- Front Door
- Front Seat Components
- Glass - Door
- Glass - Front Door
- Glass - Rear Door
- Glass - Windshield
- Glass & Hardware
- Glass & Hardware - Back
- Hood & Components
- Inner Structure
- Instrument Panel
- Interior Trim - Cowl
- Interior Trim - Door
- Interior Trim - Front Door
- Interior Trim - Pillars
- Interior Trim - Quarter Panels
- Interior Trim - Rear Body
- Interior Trim - Rear Door
- Interior Trim - Roof
- Interior Trim - Trunk
- Labels
- Lid & Components
- Lock & Hardware
- Master Cylinder - Components On Dash Panel
- Outside Mirrors
- Quarter Panel & Components
- Radiator Support
- Rear Body
- Rear Door
- Rear Floor & Rails
- Roof & Components
- Seat Belt
- Sound System
- Spoiler
- Structural Components & Rails
- Sunroof
- Trunk
- Uniside
- Wiper & Washer Components
- ABS Components
- Air Bag Components
- Alternator
- Antenna & Radio
- Backup Lamps
- Battery
- Battery & Related Components
- Bulbs - Chassis
- Cruise Control System
- Daytime Running Lamps
- Door
- Electrical Components
- Electrical Sockets
- Flashers
- Fog Lamps
- Front Door
- Front Seat Belts
- Fuse & Relay
- Headlamp Components
- High Mounted Stop Lamp
- Horn
- Ignition Lock
- Ignition System
- Instruments & Gauges
- Keyless Entry Components
- License Lamps
- Lighting - Exterior
- Lighting - Interior
- Mirrors
- Powertrain Control
- Rear Door
- Rear Seat Belts
- Relays
- Senders
- Starter
- Starter & Related Components
- Sunroof
- Switches
- Switches, Solenoids & Actuators
- Tail Lamps
- Trunk
- Wipers
- Wiring Harness
- Bumper & Components - Front
- Bumper & Components - Rear
- Console
- Cowl
- Door
- Door & Components
- Ducts
- Exterior Trim - Door
- Exterior Trim - Fender
- Exterior Trim - Front Bumper
- Exterior Trim - Front Door
- Exterior Trim - Pillars
- Exterior Trim - Quarter Panel
- Exterior Trim - Rear Door
- Exterior Trim - Roof
- Exterior Trim - Trunk
- Fender & Components
- Floor & Rails
- Front Door
- Front Seat Components
- Glass - Door
- Glass - Front Door
- Glass - Rear Door
- Glass - Windshield
- Glass & Hardware
- Glass & Hardware - Back
- Hood & Components
- Inner Structure
- Instrument Panel
- Interior Trim - Cowl
- Interior Trim - Door
- Interior Trim - Front Door
- Interior Trim - Pillars
- Interior Trim - Quarter Panels
- Interior Trim - Rear Body
- Interior Trim - Rear Door
- Interior Trim - Roof
- Interior Trim - Trunk
- Labels
- Lid & Components
- Lock & Hardware
- Master Cylinder - Components On Dash Panel
- Outside Mirrors
- Quarter Panel & Components
- Radiator Support
- Rear Body
- Rear Door
- Rear Floor & Rails
- Roof & Components
- Seat Belt
- Sound System
- Spoiler
- Structural Components & Rails
- Sunroof
- Trunk
- Uniside
- Wiper & Washer Components
- ABS Components
- Air Bag Components
- Alternator
- Antenna & Radio
- Backup Lamps
- Battery
- Battery & Related Components
- Bulbs - Chassis
- Cruise Control System
- Daytime Running Lamps
- Door
- Electrical Components
- Electrical Sockets
- Flashers
- Fog Lamps
- Front Door
- Front Seat Belts
- Fuse & Relay
- Headlamp Components
- High Mounted Stop Lamp
- Horn
- Ignition Lock
- Ignition System
- Instruments & Gauges
- Keyless Entry Components
- License Lamps
- Lighting - Exterior
- Lighting - Interior
- Mirrors
- Powertrain Control
- Rear Door
- Rear Seat Belts
- Relays
- Senders
- Starter
- Starter & Related Components
- Sunroof
- Switches
- Switches, Solenoids & Actuators
- Tail Lamps
- Trunk
- Wipers
- Wiring Harness
Exterior Trim - Front Bumper for 2004 Chevrolet Cavalier
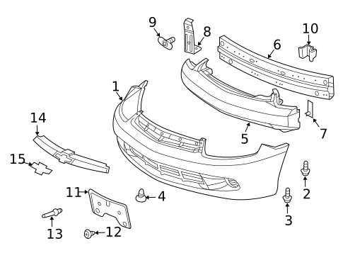
1
- Bumper CoverGM2003-05, without sport pkg. (Unavailable)
- Bumper CoverGM2003-05, with sport pkg. Helps define the shape of your vehicle Helps protect internal bumper components from the elements This GM Genuine Part is designed, engineered, and tested to rigorous standards and is backed by General Motors (Unavailable)
No.
Part # / Description / Price
Price
1
Front Bumper Cover
GM
GM Description: 2003-05, with sport pkg. Helps define the shape of your vehicle
Helps protect internal bumper components from the elements
This GM Genuine Part is designed, engineered, and tested to rigorous standards and is backed by General Motors
2
M6x1x25 Multi-Purpose Bolt
GM
GM Positions: Left
Description: This GM Genuine Part is designed, engineered, and tested to rigorous standards and is backed by General Motors
MSRP $7.47
$5.00
MSRP $7.47
$5.00
3
Multi-Purpose Bolt
GM
GM Positions: Right
Description: This GM Genuine Part is designed, engineered, and tested to rigorous standards and is backed by General Motors
MSRP $7.54
$5.05
MSRP $7.54
$5.05
4
Bolt
GM
GM Description: Used to secure multiple components
This GM Genuine Part is designed, engineered, and tested to rigorous standards and is backed by General Motors
MSRP $15.42
$10.93
MSRP $15.42
$10.93
6
7
Bumper Impact Bar Anchor Plate
GM
GM Positions: Left
Description: Helps limit damage in low impact collisions
This GM Genuine Part is designed, engineered, and tested to rigorous standards and is backed by General Motors
9
Front Bumper Fascia Bracket Retainer
GM
GM Positions: Right
Description: 2003-05. Helps align and secure your vehicle's bumper fascia
This GM Genuine Part is designed, engineered, and tested to rigorous standards and is backed by General Motors
10
10
Bracket
GM
GM Positions: Right
Description: 1995-99. 2003-05. 1995-2002, with z24. 2000-02 with gt.
MSRP $18.85
$13.45
MSRP $18.85
$13.45
11
Front License Plate Bracket
GM
GM Description: 2003-05. Type 3, SS & sport. Type 2, 2005-07, LS, lt & ltz. SS model. 1995-2002, with z24. Type 2, 2008-10, lt. Base. Gt. Secures license plate
This GM Genuine Part is designed, engineered, and tested to rigorous standards and is backed by General Motors
MSRP $37.53
$26.60
MSRP $37.53
$26.60
12
License Bracket Screw
GM
GM Positions: Right
Description: Sse & ssei, 1996-99. 1994-96.
MSRP $8.39
$5.62
MSRP $8.39
$5.62
13
Multi-Purpose Rivet
GM
GM Positions: Right
Description: This GM Genuine Part is designed, engineered, and tested to rigorous standards and is backed by General Motors
MSRP $7.47
$5.29
MSRP $7.47
$5.29
14
Front Grille Upper Molding
GM
GM Description: 2003-05. This GM Genuine Part is designed, engineered, and tested to rigorous standards and is backed by General Motors
MSRP $35.72
$25.32
MSRP $35.72
$25.32
15
Gold Front Grille Emblem
GM
GM Description: 2003-05. Brand or model identifier which enhances the appearance of your vehicle
This GM Genuine Part is designed, engineered, and tested to rigorous standards and is backed by General Motors
MSRP $67.05
$47.52
MSRP $67.05
$47.52